

Renesas CMP82C55AZ
Manufacturer No:
CMP82C55AZ
Manufacturer:
Package:
PDIP
Description:
40 Termination 2.54mm 5V I/O Expander 40 Pin 5V PDIP
Quantity:
Delivery:




Payment:







In Stock :Available
Price not displayed? Please send an RFQ, and we will respond immediately.
CMP82C55AZ information
Renesas CMP82C55AZ technical specifications, attributes, parameters and parts with similar specifications to Renesas CMP82C55AZ.
- Type
- Parameter
- Factory Lead Time
- 7 Weeks
- Mount
- Through Hole
- Package / Case
- PDIP
- Number of Pins
- 40
- Published
- 2005
- JESD-609 Code
- e3
- Part Status
- Active
- Number of Terminations
- 40
- ECCN Code
- EAR99
- Terminal Finish
- Matte Tin (Sn) - annealed
- Max Operating Temperature
- 70°C
- Min Operating Temperature
- 0°C
- HTS Code
- 8542.39.00.01
- Subcategory
- Parallel IO Port
- Technology
- CMOS
- Terminal Position
- DUAL
- Peak Reflow Temperature (Cel)
- NOT APPLICABLE
- Supply Voltage
- 5V
- Terminal Pitch
- 2.54mm
- Time@Peak Reflow Temperature-Max (s)
- NOT APPLICABLE
- Pin Count
- 40
- Qualification Status
- Not Qualified
- Supply Voltage-Max (Vsup)
- 5.5V
- Power Supplies
- 5V
- Supply Voltage-Min (Vsup)
- 4.5V
- Number of I/O
- 24
- Number of Ports
- 3
- uPs/uCs/Peripheral ICs Type
- PARALLEL IO PORT, GENERAL PURPOSE
- Length
- 51.75mm
- Height Seated (Max)
- 6.35mm
- Width
- 15.24mm
- RoHS Status
- RoHS Compliant
Download datasheets and manufacturer documentation for Renesas CMP82C55AZ.
CMP82C55AZ Overview
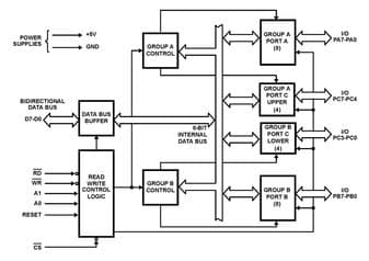
With 24 I/Os, it can be programmed.The device is packaged with the PDIP.Its terminations, as a whole, are in the 40 direction.Total pin count on the part is 40.Device 5V provides voltage.To run NOT APPLICABLE, we rely on this part's peak reflow temperature.A total of five 3 ports are available on the device.At 5V, the power can be delivered.The device is equipped with 40 pins.It is possible to mount the part using Through Hole.ICs with PARALLEL IO PORT, GENERAL PURPOSE uPs/uCs/Peripheral Types are included.The Parallel IO Port series includes this model.At 70°C, the maximum temperature is reached.In this device, the minimum working temperature cannot be lower than 0°C.
CMP82C55AZ Features
CMP82C55AZ Applications
There are a lot of Intersil (Renesas Electronics America)
CMP82C55AZ I/O Expanders applications.
- Portable Instrumentation
- Multiprotocol RFID Readers: EPC-GEN2, ISD and IPX
- IDEN, PHS, GSM Basestations
- Repeaters, Radio Links, and Modems
- Wireless Telemetry
- JTRS
- 802.11x Receivers
- IDEN
- PHS
- TD-SCDMA
User Guide
Please verify all part numbers, quantities, and packaging preferences before placing your order. If substitutions are acceptable, please indicate this clearly. For time-sensitive projects, confirm estimated delivery dates and stock availability in advance. Once submitted, changes or cancellations may not be possible, especially for items marked as non-cancellable/non-returnable (NCNR). For international shipments, please ensure all import documentation is complete and accurate to avoid delays.
MEANS OF PAYMENTFor your convenience, we accept multiple payment methods in USD, including PayPal, Credit Card, and Wire Transfer. Net terms may be available for qualified customers upon approval.
RFQ (REQUEST FOR QUOTATIONS)Please ensure the part numbers and quantities are accurate and complete when submitting your RFQ.
Provide target prices and acceptable alternatives, if any, to speed up the quotation process.
Quotations are subject to stock availability and may vary with market conditions. Prices and lead times are not guaranteed until a purchase order is confirmed. Ensure your contact details are correct to avoid delays in response.

Step1:Prepare product

Step2:Desiccant Protection

Step3:Vacuum Packaging

Step4:Individual Package

Step5:Anti-collision Filling

Step6:Packaging Box
1. Shipping starts at $40, but some countries will exceed $40. For example (South Africa, Brazil, India, Pakistan, Israel, etc.).
2. Some specific products need to reach the minimum order quantity.
3. It may cost additional remote fees for delivery if you are in a remote area.
Currently, our products are shipped through DHL, FedEx, SF, and UPS.
DELIVERY TIME1. Once the goods are shipped, estimated delivery time depends on the shipping methods you chose: FedEx International, 5-7 business days.
2. For in-stock parts, orders normally could be shipped out within 1-2days.
CMP82C55AZ Relevant information
The following parts are popular search parts in Integrated Circuits (ICs).
AIChipLink – Your Trusted Electronic Components Distributor
12.28 M
Listed Part Number3,000+
Leading Manufacturers4.9 M
In-stock SKU15,000+
Warehouse Area(㎡)


.png&w=256&q=75)


