

Renesas CS82C55AZ
Manufacturer No:
CS82C55AZ
Manufacturer:
Package:
PLCC
Description:
44 Termination 1.27mm 5V I/O Expander 44 Pin 8MHz 5V PLCC
Quantity:
Delivery:




Payment:







In Stock :Available
Price not displayed? Please send an RFQ, and we will respond immediately.
CS82C55AZ information
Renesas CS82C55AZ technical specifications, attributes, parameters and parts with similar specifications to Renesas CS82C55AZ.
- Type
- Parameter
- Factory Lead Time
- 7 Weeks
- Mount
- Surface Mount
- Package / Case
- PLCC
- Number of Pins
- 44
- Weight
- 2.386605g
- Packaging
- Bulk
- Published
- 1998
- JESD-609 Code
- e3
- Pbfree Code
- yes
- Part Status
- Active
- Moisture Sensitivity Level (MSL)
- 3 (168 Hours)
- Number of Terminations
- 44
- ECCN Code
- EAR99
- Terminal Finish
- Matte Tin (Sn) - annealed
- Max Operating Temperature
- 70°C
- Min Operating Temperature
- 0°C
- HTS Code
- 8542.39.00.01
- Technology
- CMOS
- Terminal Position
- QUAD
- Terminal Form
- J BEND
- Peak Reflow Temperature (Cel)
- 260
- Supply Voltage
- 5V
- Terminal Pitch
- 1.27mm
- Frequency
- 8MHz
- Pin Count
- 44
- Qualification Status
- Not Qualified
- Power Supplies
- 5V
- Temperature Grade
- COMMERCIAL
- Interface
- Parallel
- Max Supply Voltage
- 5.5V
- Min Supply Voltage
- 4.5V
- Number of I/O
- 24
- Number of Ports
- 3
- Nominal Supply Current
- 1mA
- Frequency (Max)
- 8MHz
- Height
- 3.69mm
- Length
- 16.66mm
- Width
- 16.66mm
- REACH SVHC
- No SVHC
- RoHS Status
- RoHS Compliant
- Lead Free
- Lead Free
Download datasheets and manufacturer documentation for Renesas CS82C55AZ.
CS82C55AZ Overview
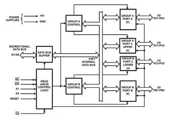
It features 24 I/Os.PLCC comes in a package with the device.The case comes in the form of a Bulk.I would say that it has 44 terminations as a whole.There are a total of 44 pins on the part.A voltage is provided at 5V by the device.To run 260, the peak reflow temperature is taken into account.There are a total of four 3 ports on the device.5V can be used to deliver the power.There are 44 pins on the device.Surface Mount allows mounting the part.A maximum operating temperature of 70°C has been reached.A minimum working temperature of 0°C is required for this device.There is a maximum frequency of 8MHz for this chip.If it is run at a frequency of 8MHz, then it can perform effectively.
CS82C55AZ Features
CS82C55AZ Applications
There are a lot of Intersil (Renesas Electronics America)
CS82C55AZ I/O Expanders applications.
- Multiprotocol RFID Readers: EPC-GEN2, ISD and IPX
- IDEN, PHS, GSM Basestations
- Repeaters, Radio Links, and Modems
- Wireless Telemetry
- JTRS
- 802.11x Receivers
- IDEN
- PHS
- TD-SCDMA
- CDMA2000
User Guide
Please verify all part numbers, quantities, and packaging preferences before placing your order. If substitutions are acceptable, please indicate this clearly. For time-sensitive projects, confirm estimated delivery dates and stock availability in advance. Once submitted, changes or cancellations may not be possible, especially for items marked as non-cancellable/non-returnable (NCNR). For international shipments, please ensure all import documentation is complete and accurate to avoid delays.
MEANS OF PAYMENTFor your convenience, we accept multiple payment methods in USD, including PayPal, Credit Card, and Wire Transfer. Net terms may be available for qualified customers upon approval.
RFQ (REQUEST FOR QUOTATIONS)Please ensure the part numbers and quantities are accurate and complete when submitting your RFQ.
Provide target prices and acceptable alternatives, if any, to speed up the quotation process.
Quotations are subject to stock availability and may vary with market conditions. Prices and lead times are not guaranteed until a purchase order is confirmed. Ensure your contact details are correct to avoid delays in response.

Step1:Prepare product

Step2:Desiccant Protection

Step3:Vacuum Packaging

Step4:Individual Package

Step5:Anti-collision Filling

Step6:Packaging Box
1. Shipping starts at $40, but some countries will exceed $40. For example (South Africa, Brazil, India, Pakistan, Israel, etc.).
2. Some specific products need to reach the minimum order quantity.
3. It may cost additional remote fees for delivery if you are in a remote area.
Currently, our products are shipped through DHL, FedEx, SF, and UPS.
DELIVERY TIME1. Once the goods are shipped, estimated delivery time depends on the shipping methods you chose: FedEx International, 5-7 business days.
2. For in-stock parts, orders normally could be shipped out within 1-2days.
CS82C55AZ Relevant information
The following parts are popular search parts in Integrated Circuits (ICs).
AIChipLink – Your Trusted Electronic Components Distributor
12.28 M
Listed Part Number3,000+
Leading Manufacturers4.9 M
In-stock SKU15,000+
Warehouse Area(㎡)





