

Renesas IP82C55AZ
Manufacturer No:
IP82C55AZ
Manufacturer:
Package:
DIP
Description:
40 Termination 2.54mm 5V I/O Expander 40 Pin 8MHz 5V DIP
Quantity:
Delivery:




Payment:







In Stock :Available
Price not displayed? Please send an RFQ, and we will respond immediately.
IP82C55AZ information
Renesas IP82C55AZ technical specifications, attributes, parameters and parts with similar specifications to Renesas IP82C55AZ.
- Type
- Parameter
- Factory Lead Time
- 6 Weeks
- Mount
- Through Hole
- Package / Case
- DIP
- Number of Pins
- 40
- Packaging
- Bulk
- Published
- 2005
- JESD-609 Code
- e3
- Pbfree Code
- yes
- Part Status
- Active
- Number of Terminations
- 40
- ECCN Code
- EAR99
- Terminal Finish
- Matte Tin (Sn) - annealed
- Max Operating Temperature
- 85°C
- Min Operating Temperature
- -40°C
- HTS Code
- 8542.39.00.01
- Subcategory
- Parallel IO Port
- Technology
- CMOS
- Terminal Position
- DUAL
- Peak Reflow Temperature (Cel)
- NOT APPLICABLE
- Supply Voltage
- 5V
- Terminal Pitch
- 2.54mm
- Frequency
- 8MHz
- Time@Peak Reflow Temperature-Max (s)
- NOT APPLICABLE
- Pin Count
- 40
- Power Supplies
- 5V
- Temperature Grade
- INDUSTRIAL
- Max Supply Voltage
- 5.5V
- Min Supply Voltage
- 4.5V
- Number of I/O
- 24
- Number of Ports
- 3
- Nominal Supply Current
- 10?A
- uPs/uCs/Peripheral ICs Type
- PARALLEL IO PORT, GENERAL PURPOSE
- Height
- 4.95mm
- Length
- 53.2mm
- Width
- 14.73mm
- REACH SVHC
- No SVHC
- RoHS Status
- RoHS Compliant
- Lead Free
- Lead Free
Download datasheets and manufacturer documentation for Renesas IP82C55AZ.
Datasheets:
IP82C55AZ Overview
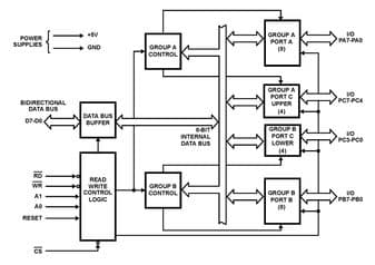
24 I/Os are used to program this device.There is a DIP that comes with the device, which is enclosed in the packaging.A Bulk case is also available for this item.Overall, it terminates in 40.A total of 40 pins are present on this part.At 5V, the device is providing voltage to the user.It is necessary to run NOT APPLICABLE at the peak reflow temperature on this part.There are a total of 3 ports available on the device.This can deliver the power to 5V in a very efficient manner.This device is equipped with 40 pins.A Through Hole-axis can be used to mount the part.In general, it belongs to the category PARALLEL IO PORT, GENERAL PURPOSE uPs, uCs and peripheral ICs.This is a model from the Parallel IO Port series.When the maximum operating temperature is reached, it is referred to as 85°C.It is essential that this device's minimum working temperature is not lower than -40°C.At a frequency of 8MHz, the program will be able to perform effectively and efficiently.
IP82C55AZ Features
IP82C55AZ Applications
There are a lot of Intersil (Renesas Electronics America)
IP82C55AZ I/O Expanders applications.
- Wireless Telemetry
- JTRS
- 802.11x Receivers
- IDEN
- PHS
- TD-SCDMA
- CDMA2000
- WCDMA
- UMTS
- Antialiasing Filter
User Guide
Please verify all part numbers, quantities, and packaging preferences before placing your order. If substitutions are acceptable, please indicate this clearly. For time-sensitive projects, confirm estimated delivery dates and stock availability in advance. Once submitted, changes or cancellations may not be possible, especially for items marked as non-cancellable/non-returnable (NCNR). For international shipments, please ensure all import documentation is complete and accurate to avoid delays.
MEANS OF PAYMENTFor your convenience, we accept multiple payment methods in USD, including PayPal, Credit Card, and Wire Transfer. Net terms may be available for qualified customers upon approval.
RFQ (REQUEST FOR QUOTATIONS)Please ensure the part numbers and quantities are accurate and complete when submitting your RFQ.
Provide target prices and acceptable alternatives, if any, to speed up the quotation process.
Quotations are subject to stock availability and may vary with market conditions. Prices and lead times are not guaranteed until a purchase order is confirmed. Ensure your contact details are correct to avoid delays in response.

Step1:Prepare product

Step2:Desiccant Protection

Step3:Vacuum Packaging

Step4:Individual Package

Step5:Anti-collision Filling

Step6:Packaging Box
1. Shipping starts at $40, but some countries will exceed $40. For example (South Africa, Brazil, India, Pakistan, Israel, etc.).
2. Some specific products need to reach the minimum order quantity.
3. It may cost additional remote fees for delivery if you are in a remote area.
Currently, our products are shipped through DHL, FedEx, SF, and UPS.
DELIVERY TIME1. Once the goods are shipped, estimated delivery time depends on the shipping methods you chose: FedEx International, 5-7 business days.
2. For in-stock parts, orders normally could be shipped out within 1-2days.
IP82C55AZ Relevant information
The following parts are popular search parts in Integrated Circuits (ICs).
AIChipLink – Your Trusted Electronic Components Distributor
12.28 M
Listed Part Number3,000+
Leading Manufacturers4.9 M
In-stock SKU15,000+
Warehouse Area(㎡)






