

Renesas ISL12025IVZ
Manufacturer No:
ISL12025IVZ
Manufacturer:
Package:
TSSOP
Description:
8 Terminations 3.3V Real Time Clocks Timer or RTC Subcategory 0.032MHz Min 2.7V V Max 5.5V V
Quantity:
Delivery:




Payment:







In Stock :Available
Price not displayed? Please send an RFQ, and we will respond immediately.
ISL12025IVZ information
Renesas ISL12025IVZ technical specifications, attributes, parameters and parts with similar specifications to Renesas ISL12025IVZ.
- Type
- Parameter
- Mount
- Surface Mount
- Package / Case
- TSSOP
- Number of Pins
- 8
- Published
- 1999
- JESD-609 Code
- e3
- Part Status
- Active
- Moisture Sensitivity Level (MSL)
- 1 (Unlimited)
- Number of Terminations
- 8
- ECCN Code
- EAR99
- Terminal Finish
- Matte Tin (Sn) - annealed
- Max Operating Temperature
- 85°C
- Min Operating Temperature
- -40°C
- Subcategory
- Timer or RTC
- Technology
- CMOS
- Terminal Position
- DUAL
- Peak Reflow Temperature (Cel)
- 260
- Supply Voltage
- 3.3V
- Terminal Pitch
- 0.65mm
- Time@Peak Reflow Temperature-Max (s)
- 40
- Operating Supply Voltage
- 3.3V
- Power Supplies
- 3/5V
- Temperature Grade
- INDUSTRIAL
- Interface
- 2-Wire, I2C, Serial
- Max Supply Voltage
- 5.5V
- Clock Frequency
- 0.032MHz
- Logic Function
- Clock
- Time Format
- HH:MM:SS
- Date Format
- YY-MM-DD-dd
- Time-Min
- SECONDS
- Interrupt Capability
- Y
- Volatile
- NO
- Information Access Method
- I2C
- Height
- 1.05mm
- Length
- 3.05mm
- Width
- 4.5mm
- Radiation Hardening
- No
- RoHS Status
- RoHS Compliant
Download datasheets and manufacturer documentation for Renesas ISL12025IVZ.
Datasheets:
ISL12025IVZ Overview
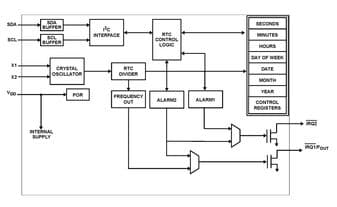
Real time clocks is embedded in the TSSOP package.There are 8 terminations, which are the practice of ending a transmission line welectronic time clocksh a RTC module that matches the characteristic impedance of the line.The supply voltage of this RTC real time clock is 3.3V.This part is included in Timer or RTC.Real time clocks' output frequency should not exceed 0.032MHz.It is mounted in the way of Surface Mount.It operates from 3/5V power supplies.There are 8 pins, which are pronged contacts as part of a signal interface in a computer or other communications real time clock. The supply voltage should be maintained at 3.3V for high efficiency.The operating temperature should be higher than -40°C.The operating temperature should be lower than 85°C.Real time clocks operate with the minimal supply voltage of 2.7V.Real time clocks operate with the maximal supply voltage of 5.5V.
ISL12025IVZ Features
TSSOP package
8 terminations
3/5V power supplies
Be maintained at 3.3V for high efficiency.
ISL12025IVZ Applications
There are a lot of Intersil (Renesas Electronics America)
ISL12025IVZ Real Time Clocks applications.
- Mobile telephones
- Portable instruments
- Electronic metering
- Battery powered products
- Automotive
- Industrial
- Digital still camera
- Digital video camera
- Printers
- Copy machines
User Guide
Please verify all part numbers, quantities, and packaging preferences before placing your order. If substitutions are acceptable, please indicate this clearly. For time-sensitive projects, confirm estimated delivery dates and stock availability in advance. Once submitted, changes or cancellations may not be possible, especially for items marked as non-cancellable/non-returnable (NCNR). For international shipments, please ensure all import documentation is complete and accurate to avoid delays.
MEANS OF PAYMENTFor your convenience, we accept multiple payment methods in USD, including PayPal, Credit Card, and Wire Transfer. Net terms may be available for qualified customers upon approval.
RFQ (REQUEST FOR QUOTATIONS)Please ensure the part numbers and quantities are accurate and complete when submitting your RFQ.
Provide target prices and acceptable alternatives, if any, to speed up the quotation process.
Quotations are subject to stock availability and may vary with market conditions. Prices and lead times are not guaranteed until a purchase order is confirmed. Ensure your contact details are correct to avoid delays in response.

Step1:Prepare product

Step2:Desiccant Protection

Step3:Vacuum Packaging

Step4:Individual Package

Step5:Anti-collision Filling

Step6:Packaging Box
1. Shipping starts at $40, but some countries will exceed $40. For example (South Africa, Brazil, India, Pakistan, Israel, etc.).
2. Some specific products need to reach the minimum order quantity.
3. It may cost additional remote fees for delivery if you are in a remote area.
Currently, our products are shipped through DHL, FedEx, SF, and UPS.
DELIVERY TIME1. Once the goods are shipped, estimated delivery time depends on the shipping methods you chose: FedEx International, 5-7 business days.
2. For in-stock parts, orders normally could be shipped out within 1-2days.
ISL12025IVZ Relevant information
The following parts are popular search parts in Integrated Circuits (ICs).
AIChipLink – Your Trusted Electronic Components Distributor
12.28 M
Listed Part Number3,000+
Leading Manufacturers4.9 M
In-stock SKU15,000+
Warehouse Area(㎡)








