SKYWORKS SI53154-A01AGM
Manufacturer No:
SI53154-A01AGM
Manufacturer:
Package:
24-WFQFN Exposed Pad
Description:
3.3V V 4mm mm 750?m mm Application Specific Timer 4mm mm 0.5mm mm 3.135V~3.465V Msps 4mm mm
Quantity:
Delivery:




Payment:







In Stock :Available
Price not displayed? Please send an RFQ, and we will respond immediately.
SI53154-A01AGM information
SKYWORKS SI53154-A01AGM technical specifications, attributes, parameters and parts with similar specifications to SKYWORKS SI53154-A01AGM.
- Type
- Parameter
- Factory Lead Time
- 6 Weeks
- Contact Plating
- Tin
- Mounting Type
- Surface Mount
- Package / Case
- 24-WFQFN Exposed Pad
- Surface Mount
- YES
- Number of Pins
- 24
- Operating Temperature
- -40°C~85°C
- Packaging
- Tray
- Published
- 1997
- Part Status
- Active
- Moisture Sensitivity Level (MSL)
- 2 (1 Year)
- Number of Terminations
- 24
- Voltage - Supply
- 3.135V~3.465V
- Terminal Position
- QUAD
- Number of Functions
- 1
- Supply Voltage
- 3.3V
- Terminal Pitch
- 0.5mm
- Frequency
- 100MHz
- Base Part Number
- SI53154
- Pin Count
- 24
- Number of Outputs
- 4
- Operating Supply Voltage
- 3.3V
- Number of Circuits
- 1
- Max Supply Current
- 35mA
- Input
- Clock
- Ratio - Input:Output
- 1:4
- PLL
- No
- Differential - Input:Output
- Yes/Yes
- Main Purpose
- PCI Express (PCIe)
- Height
- 750?m
- Length
- 4mm
- Width
- 4mm
- REACH SVHC
- Unknown
- RoHS Status
- RoHS Compliant
Download datasheets and manufacturer documentation for SKYWORKS SI53154-A01AGM.
Datasheets:
SI53154-A01AGM Overview
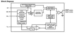
Clock program is contained in the package Tray. There is a 24-WFQFN Exposed Pad-serial number on the packaging of this product that identifies it as being packaged in a case. Surface Mount is the most recommended mounting type. 24 terminations are present in it. Parts provide 3.3V volts. There has been a detection of a device with 1. normaloperation can occur at a frequency of 210MHz. -40°C~85°C operates within a range of temperatures. There is 3.135V~3.465V voltage limitation on the component. It can supply a voltage of 3.135V~3.465V. There is only one purpose for this component, PCI Express (PCIe). There have been 1997 publications of this part. You need to start at SI53154 to find information about a part. On this device, there are 24 pins. As a result, it includes 24 pins. Circuits application is recommended that the supply voltage remain at 3.3V. Circuits application is capable of maintaining 4 outputs on the device. Using a frequency of 100MHz will allow it to reach excellent efficiency.
SI53154-A01AGM Features
Mounting Type: Surface Mount
Include 1 Circuits
with 24 Pins
operate supply voltage at the range of 3.3V
SI53154-A01AGM Applications
There are a lot of Silicon Labs
SI53154-A01AGM application specific timer applications.
- MSAN/DSLAM/PON
- Fibre Channel, SAN
- Telecom line cards
- 1 GbE and 10 GbE
- Servers, Storage, Search Acceleration
- Ethernet Switches, Routers
- Small Cells, Mobile Backhaul/Fronthaul
- Print Imaging
- Communications
- Broadcast Video
User Guide
Please verify all part numbers, quantities, and packaging preferences before placing your order. If substitutions are acceptable, please indicate this clearly. For time-sensitive projects, confirm estimated delivery dates and stock availability in advance. Once submitted, changes or cancellations may not be possible, especially for items marked as non-cancellable/non-returnable (NCNR). For international shipments, please ensure all import documentation is complete and accurate to avoid delays.
MEANS OF PAYMENTFor your convenience, we accept multiple payment methods in USD, including PayPal, Credit Card, and Wire Transfer. Net terms may be available for qualified customers upon approval.
RFQ (REQUEST FOR QUOTATIONS)Please ensure the part numbers and quantities are accurate and complete when submitting your RFQ.
Provide target prices and acceptable alternatives, if any, to speed up the quotation process.
Quotations are subject to stock availability and may vary with market conditions. Prices and lead times are not guaranteed until a purchase order is confirmed. Ensure your contact details are correct to avoid delays in response.

Step1:Prepare product

Step2:Desiccant Protection

Step3:Vacuum Packaging

Step4:Individual Package

Step5:Anti-collision Filling

Step6:Packaging Box
1. Shipping starts at $40, but some countries will exceed $40. For example (South Africa, Brazil, India, Pakistan, Israel, etc.).
2. Some specific products need to reach the minimum order quantity.
3. It may cost additional remote fees for delivery if you are in a remote area.
Currently, our products are shipped through DHL, FedEx, SF, and UPS.
DELIVERY TIME1. Once the goods are shipped, estimated delivery time depends on the shipping methods you chose: FedEx International, 5-7 business days.
2. For in-stock parts, orders normally could be shipped out within 1-2days.
SI53154-A01AGM Relevant information
The following parts are popular search parts in Integrated Circuits (ICs).
AIChipLink – Your Trusted Electronic Components Distributor
12.28 M
Listed Part Number3,000+
Leading Manufacturers4.9 M
In-stock SKU15,000+
Warehouse Area(㎡)

.png&w=256&q=75)




