

Renesas X9C303S8Z
Manufacturer No:
X9C303S8Z
Manufacturer:
Package:
SOIC
Description:
8 Terminations 5V Digital Potentiometers Serial 100 Positions Min 4.5V V Max 5.5V V
Quantity:
Delivery:




Payment:







In Stock :Available
Price not displayed? Please send an RFQ, and we will respond immediately.
X9C303S8Z information
Renesas X9C303S8Z technical specifications, attributes, parameters and parts with similar specifications to Renesas X9C303S8Z.
- Type
- Parameter
- Factory Lead Time
- 9 Weeks
- Mount
- Surface Mount
- Package / Case
- SOIC
- Number of Pins
- 8
- Packaging
- Bulk
- Published
- 2005
- Tolerance
- 15%
- JESD-609 Code
- e3
- Part Status
- Active
- Moisture Sensitivity Level (MSL)
- 1 (Unlimited)
- Number of Terminations
- 8
- ECCN Code
- EAR99
- Temperature Coefficient
- 400 ppm/°C
- Resistance
- 32kOhm
- Number of Positions
- 100
- Terminal Finish
- Matte Tin (Sn) - annealed
- Max Operating Temperature
- 70°C
- Min Operating Temperature
- 0°C
- Subcategory
- Digital Potentiometers
- Technology
- CMOS
- Terminal Position
- DUAL
- Terminal Form
- GULL WING
- Peak Reflow Temperature (Cel)
- 260
- Number of Functions
- 1
- Time@Peak Reflow Temperature-Max (s)
- 30
- Operating Supply Voltage
- 5V
- Power Supplies
- 5V
- Temperature Grade
- COMMERCIAL
- Interface
- Serial
- Number of Circuits
- 1
- Max Supply Voltage
- 5.5V
- Min Supply Voltage
- 4.5V
- Operating Supply Current
- 1mA
- Memory Type
- Non-Volatile
- Converter Type
- DIGITAL POTENTIOMETER
- Taper
- Log
- Total Resistance
- 32000Ohm
- Resistor Terminal Voltage-Max
- 5V
- Width
- 3.9mm
- Radiation Hardening
- No
- RoHS Status
- RoHS Compliant
- Lead Free
- Lead Free
Download datasheets and manufacturer documentation for Renesas X9C303S8Z.
Datasheets:
X9C303S8Z Overview
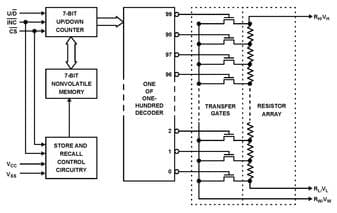
SOIC packages contain it.Non-Volatile marks the beginning of the storage process for this pentometer.The digital potentiometer has 1 embedded circuits.In the Bulk package, it is accessible for securing the digital analogic.The number of positions is 100.There are 8 terminations on this digital potentiometer.You can refer to 1 functions in this programmable potentiometer.According to the diagram, the speed potentiometers's total resistance is 32000Ohm.Powered by 5V, it delivers its performance.A flow limit of 32kOhm can be applied.Mounted by Surface Mount.Digital potentiometer has 8 pins.There is a DIGITAL POTENTIOMETER classification for its converter type.A supply voltage of 5V conducts the potentiometer.The potentiameter is capable of delivering voltage at 5V.A maximum 70°C ensures that the digital resistor runs smoothly.In order to maintain reliability, it is operated at a minimum temperature of 0°C.This electronic component belongs to the family Digital Potentiometers.The maximum supply voltage it can handle is 5.5V.A electronic potentiometer minimum supply voltage of 4.5V can be used.The supply current needs to be operated in the range of 1mA.
X9C303S8Z Features
Available in SOIC package
1 Circuits
8 pins
Operate supply voltage at the range of 5V
X9C303S8Z Applications
There are a lot of Intersil (Renesas Electronics America)
X9C303S8Z Digital Potentiometers applications.
- Cell phone
- Household appliances
- Modern office equipment
- Industrial control
- Medical equipment
- Refrigerator
- Programmable computer
- Power supply
- Power meter
- Automatic detection of equipment
User Guide
Please verify all part numbers, quantities, and packaging preferences before placing your order. If substitutions are acceptable, please indicate this clearly. For time-sensitive projects, confirm estimated delivery dates and stock availability in advance. Once submitted, changes or cancellations may not be possible, especially for items marked as non-cancellable/non-returnable (NCNR). For international shipments, please ensure all import documentation is complete and accurate to avoid delays.
MEANS OF PAYMENTFor your convenience, we accept multiple payment methods in USD, including PayPal, Credit Card, and Wire Transfer. Net terms may be available for qualified customers upon approval.
RFQ (REQUEST FOR QUOTATIONS)Please ensure the part numbers and quantities are accurate and complete when submitting your RFQ.
Provide target prices and acceptable alternatives, if any, to speed up the quotation process.
Quotations are subject to stock availability and may vary with market conditions. Prices and lead times are not guaranteed until a purchase order is confirmed. Ensure your contact details are correct to avoid delays in response.

Step1:Prepare product

Step2:Desiccant Protection

Step3:Vacuum Packaging

Step4:Individual Package

Step5:Anti-collision Filling

Step6:Packaging Box
1. Shipping starts at $40, but some countries will exceed $40. For example (South Africa, Brazil, India, Pakistan, Israel, etc.).
2. Some specific products need to reach the minimum order quantity.
3. It may cost additional remote fees for delivery if you are in a remote area.
Currently, our products are shipped through DHL, FedEx, SF, and UPS.
DELIVERY TIME1. Once the goods are shipped, estimated delivery time depends on the shipping methods you chose: FedEx International, 5-7 business days.
2. For in-stock parts, orders normally could be shipped out within 1-2days.
X9C303S8Z Relevant information
The following parts are popular search parts in Integrated Circuits (ICs).
AIChipLink – Your Trusted Electronic Components Distributor
12.28 M
Listed Part Number3,000+
Leading Manufacturers4.9 M
In-stock SKU15,000+
Warehouse Area(㎡)








